ロング 液体充填ノズル |株式会社セイワ技研

ロング 液体充填ノズル |株式会社セイワ技研

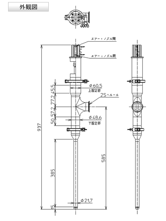
ロング液体充填ノズル

液面追従充填する際に便利なロングノズルです。
バルブ開・閉のみの充填ノズルです。
(ロングノズルでは、構造上2段式は製作できません)

 

使用充填機:AWFL-20

ノズル流量調整 開 ・閉のみ
給液口

2Sへルール
(内径φ43)

ノズル外径 φ21.7
ノズル内径 φ17.5
参考流量

水 大充填時 約600cc/秒
※環境により変わります。

エアー供給口 φ6 ワンタッチカプラー
制御空気圧 0.4〜0.5Mpa
制御 別途必要
主な接粒部材質

SUS304
ジュラコン
シリコン

重量 約 5.5kg
この装置へ液体を供給する設備が必要です。

接粒部材質は変更できます。お問合せください。
ノズル1外観図

  ノズル1仕様図面

対応原料
液体
発泡性のあるものは、あふれる可能性があります。御相談ください。

 

計量実績原料名
水など

※御購入時のご注意※
上記は一例です。原料・環境・により、能力や精度が変ります。念のため実際の液体を提示いただく場合もあります。納入後のトラブルを防ぐ為にも、御不明な点はお気軽にお問合せください。

お問い合わせはこちら

お問い合わせはこちら
トップへ戻る